
The patent for the Piaggio active radar reflector tech was published only recently
Piaggio has patented its new active radar reflector technology, a collision risk reduction system for 2-wheelers, in Italy and in the USA.
While the brand had filed the patent in its home country in 2018, the same was done a year later in America. But, the patent application was published by the US authorities only 3 weeks ago.
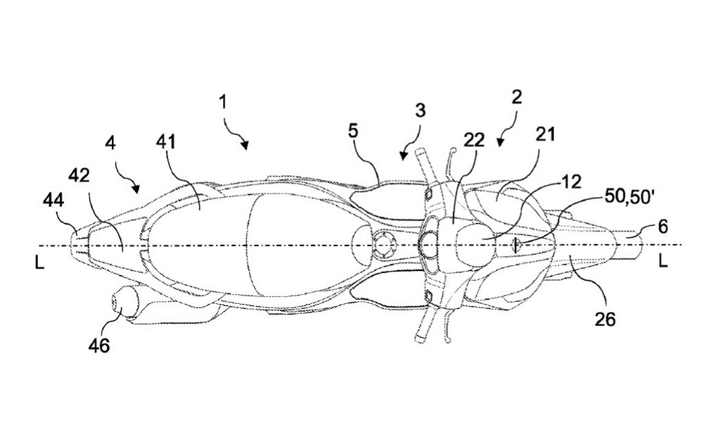
The active radar reflector system, as the name suggests would be fitted to a 2-wheeler to make it more visible to long-range radar systems fitted to cars and even a few exotic motorcycles these days.

Since 2-wheelers are physically smaller and are not very visible targets for radar systems, avoiding collisions remains a big problem. However, the Piaggio active radar reflector patent shows that the system could be used at the front, the sides and rear of a 2-wheeler.
These systems are designed to be integrated into existing parts of a vehicle and would, in practice, make the motorbike or scooter more visible to a surrounding vehicle.
Although Piaggio is the one that came up with this idea, it looks like Aprilia, Moto Guzzi and Vespa products will also benefit from the invention. Even if the active radar reflector system is not fitted right from factory, it could be installed as an accessory.
Finally, the patent application also states that in the future, the active radar reflector tech could work with Piaggio’s very own radar system enabling adaptive cruise control, blind spot detection, among others.





